插件简介
记录蜘蛛爬行日志。
插件功能
可以记录搜索引擎蜘蛛的种类、爬行时间、爬行的页面、来源的IP。有利于监控站点的被蜘蛛抓取的情况,了解蜘蛛的习惯。可以为站点的SEO提供很多参考数据。
插件缺点
(暂无)
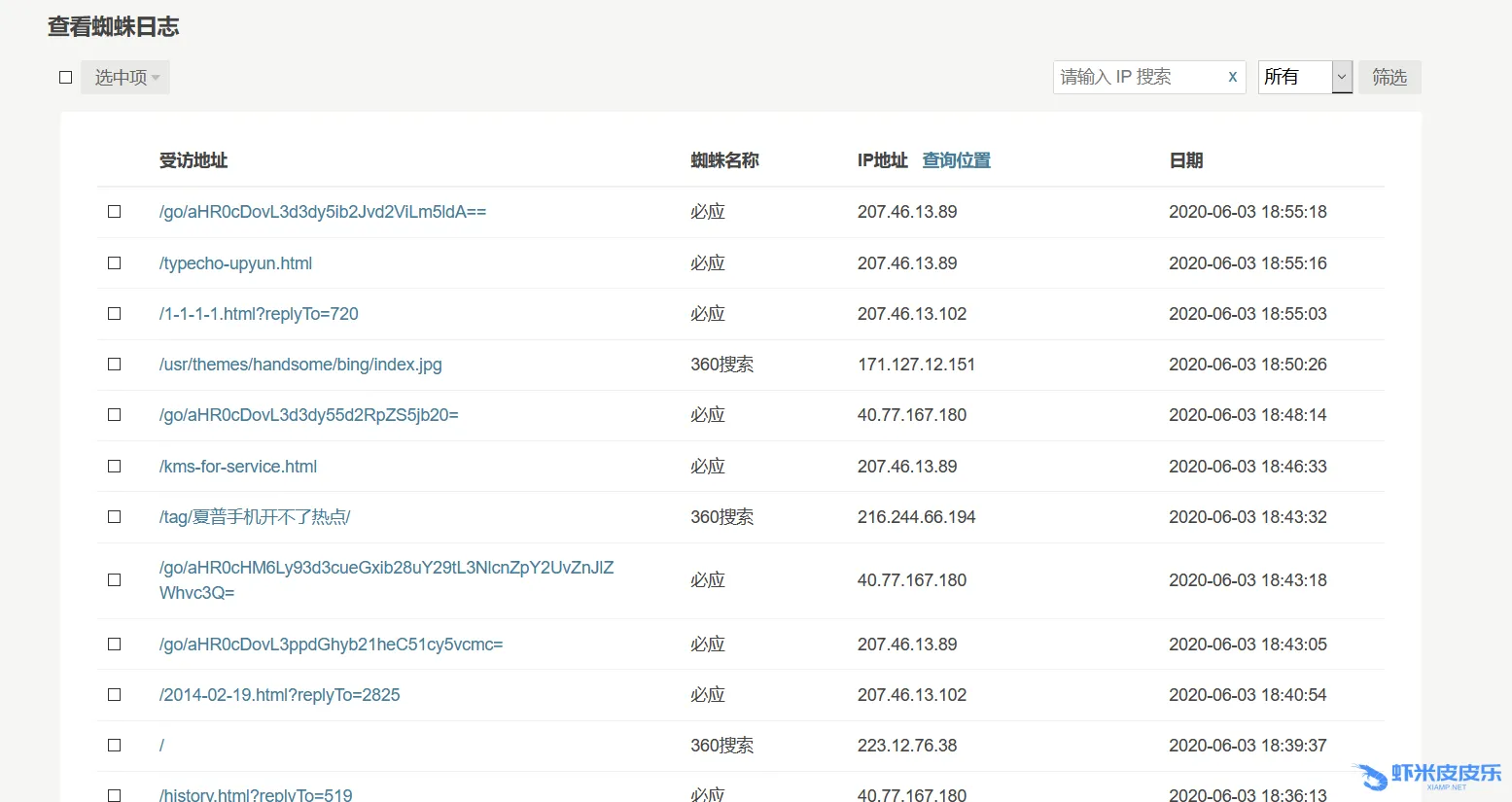
插件截图
插件使用
(暂无)
插件历史
本插件原名“Robots”,由 Shion 创建,后面由 YoviSun 修改升级后改名为 RobotsPlus 。
但是年久失修。现在由本博主接手了。
更新日志
2024.05.25 版本 2.0.8 修复 IP 查询 API 不可用
2024.05.10 版本 2.0.7 修复 PHP8.0+ Deprecated
2021.08.14 版本 2.0.6 开始不再加密
2018.10.06 由 Ryan 修正在 typecho 新版中显示异常以及不能删除日志的问题。并改名为RobotsPlusPlus。理论上新版SQLite数据库也能用,没测过。。。。有问题联系我,我再改把。
2020.09.04 兼容PHP7.4 感谢“猫咪”
2020.06.03
重写查询,完美修正筛选功能,修改查询页面分页方式。
支持自行添加蜘蛛
支持查询IP定位
修正IPv6超长问题

牛啊阿啊阿啊阿啊
大力支持
牛啊阿啊阿啊阿啊
帅6666666
看看
谢谢谢谢谢谢
感谢分享
牛牛牛
感谢感谢 大力支持
这个插件不错,正在寻找typecho的蜘蛛插件,下载回来试试,感谢